CRM系统操作指引(分公司经理篇)

1.系统查询
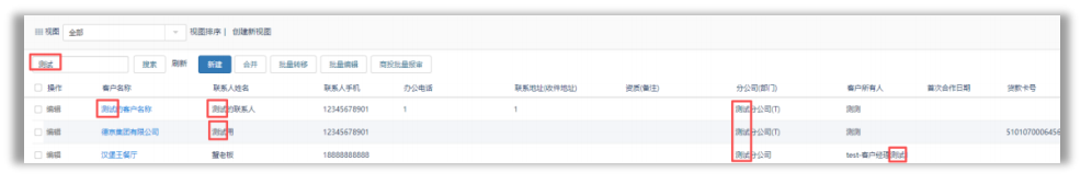
该角色在系统中主要查询对象有客户、联系人、销售日志、项目审批、保函管理等,以下将举例展示如何进行查询。
系统中常用的查询方式分为两种:
a.对象查询
直接点击对应选项卡,通过页面上的搜索框输入值查询记录
(对象查询中的搜索又分为选项卡搜索、视图搜索)
1)选项卡搜索是以输入内容与当前选项卡所有字段值模糊匹配的搜索结果(当前选项卡字段设置是由系统后台统一设置,不可随意变更),点击高级搜索还可以在当前范围内进一步设置筛选条件

2)视图搜索是点击进入视图后的搜索,是以所输入内容与当前视图中所设定的所有字段值模糊匹配的搜索结果(视图中所设定的字段可由视图所有人编辑调整)

b.全局模糊查询
通过系统主页的搜索栏进行搜索(需提前配置可搜索对象,最多设置10个对象)


2.业务审批
针对所涉及对象的流程审核及审批,包含编辑和审批,目前该角色所涉及的主要流程有:
项目审批流程、面签授权申请流程、合同送审流程、征信提前查询、
用印申请流程、保函格式送审流程、后补资料申请流程、
撤单申请流程、退款申请流程、项目修改流程、保函修改流程、
老客户认定流程、修改客户记录流程、修改联系人记录流程、收件人解锁修正流程、
票据申请流程、结保申请流程、退保申请流程、保后管理流程等。
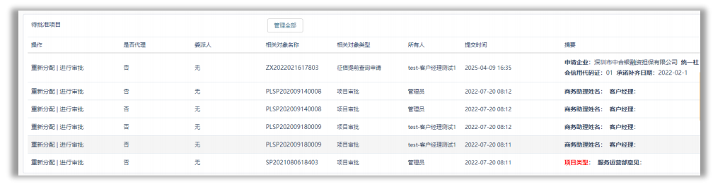
当流程到达该角色时,会在主页【待批准项目】处显示
此处按审批到达先后顺序展示,最近的记录展示在最前面。点击操作中的重新分配,可对该条记录进行审批人的重新分配,如下图,点击查找可重新指定批准人(请注意审批执行同级同范围原则)
点击操作中的进行审批,可直接对该条记录进行批准或拒绝操作,如下图
点击相关对象名称中的编号可直接打开该条记录,如下图
点击【管理全部】按钮,可进入审批中心。审批中心按类型分为待审批的项目、我提交的项目、我批准过的项目、我拒绝过的项目,点击可进行不同类型的切换选择,并且每个类型可进行独立筛选。
待审批的项目中通过勾选多条记录,可进行批量操作。
3.资源分配
当团队中人员出现变动或客户资源需重新分配时,可通过客户资源及关联信息的转移分配进行操作。
a.单一记录分配
通过搜索,打开要分配的客户记录
在客户所有人处点击更改
选择转移分配后的所有人及关联对象记录(当关联记录中所有人跟当前客户所有人一致时生效)
确认无误后,点击转移按钮,进行分配
b.多记录批量分配
通过视图筛选要分配的记录并勾选
点击批量转移按钮,进入到分配页面,可见选中的数据条数。点击查找选择要分配的人员并勾选要同时转移的相关列表(与该客户记录所关联的对象记录)

确认无误后,点击转移按钮,进行分配
提示:该操作为批量操作,会根据操作人所选记录及相关列表数量的多少,影响到执行的时间及所占系统资源,请勿频繁操作,也请勿在业务高峰期进行。
4.人员管理
管理团队中人员的入离职、转正、异动、保函交接、绩效考核、触网延长考核期、新员工延长试用期申请、业绩提升计划等