文件生成系统V2.5 操作指引
法律文件自动生成及引导系统V2.5
1、功能入口:
可通过业务机会-非投类记录 或 项目审批-银非投类审批表中点击【法律文件生成】按钮(当前仅开放银非投)
注意:当业务机会报审后,已生成文件会自动同步关联到项目审批,业务机会页面上的按钮失效,将提醒前往项目审批操作并查看。


2、选择要生成的文件:
页面中已按类型区分,分为六个大类:公司资料、征信资料、建行资料、华商资料、微众资料、说明资料;其中公司资料可根据需要选择生成,其它几类资料为整包生成。


3、补充信息:
当选择委托担保协议时,需根据不同版本补充委托担保协议中甲方(申请人)信息或分公司开票的委托担保协议中乙方(申请人分公司)或含个反的委托担保协议中丙方(反担保人)信息,如下图所示,其中住所和法定代表人通过大数据自动获取并回填;手机和座机为二选一,只用填写其中任意一个。



4、确认生成:
完成以上步骤后,按提示继续,可见如下界面,确认无误后,点击确认生成就可以完成自动生成操作。

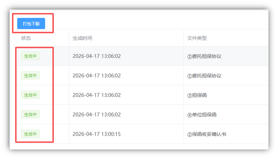
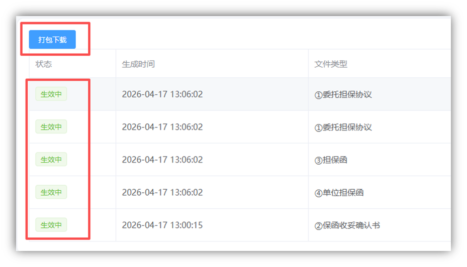
5、查看已生成文件:
首次生成后会自动跳转到已生成文件列表,如下图所示,可通过操作点击预览在线查看或下载文件。点击上方的标签可进行类型切换,每个类型中的文件支持打包下载(当前类型中所有生效中的文件)



6、文件作废:
当五要素信息发生变化时,可再次选择重新生成相应文件,原已生成文件自动标记为作废;已生成的个人反担保函或单位反担保函文件,若在项目审批通过时未在系统中检测到有相应记录,则自动标记为作废。
